Padder
Padder
01
Key Features & Advantages
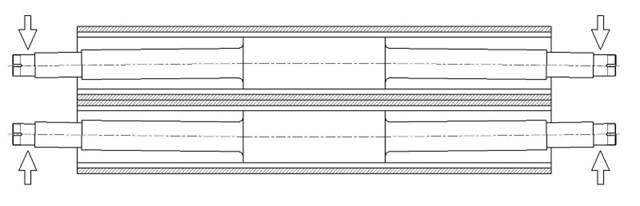
- Centre-Support Design – Uniform pressure distribution, providing perfect water extraction and impregnation.
- Horizontal Arrangement – Ensure dewatering effect and prevent dripping marks on fabric.
- Small-Diameter Rollers – Increase linear pressure and shorten fabric path, minimising fabric elongation. Pressure is adjustable for different types of fabric
- Two-Stage Trough Movement – Vertical lifting and tilting function designed to prevent chemical waste.
Our padders are equipped with centre-support rollers as standard, providing customers with stable and reliable performance, consistent processing quality, and high production flexibility to meet diverse textile application needs.
02
Specifications
| Shore hardness | Available from 78° – 90° |
| Maximum Linear Pressure | 40KG/CM for 200CM working width Padders |








